化工装置开车DCS调试全过程知识分享
2023-02-28 天行官方网站_天行TIANXING(中国)
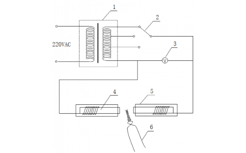
热电偶补偿原理知识分享
2023-02-06 天行官方网站_天行TIANXING(中国)
一种贵金属热电偶焊接装置
热电偶、电阻保护套泄露处理办法
2022-12-09 天行官方网站_天行TIANXING(中国)
电厂循环流化床锅炉炉膛温度计的使用浅析
2022-12-06 天行官方网站_天行TIANXING(中国)
热电偶工作原理及故障处理思路
2022-11-23 天行官方网站_天行TIANXING(中国)
自控仪表接地知识分享
2022-10-24 天行官方网站_天行TIANXING(中国)
温度仪表的结构和原理图解分享