KWZK-XJ110指纹智能巡检仪在污水厂的应用
2023-04-25 天行官方网站_天行TIANXING(中国)
通过案例分析轴瓦温度在汽轮机中的应用
磁敏电子双色液位计在使用中该注意哪些参数?
2023-04-24 天行官方网站_天行TIANXING(中国)
锅炉汽包电接点水位计的常见故障处理分享
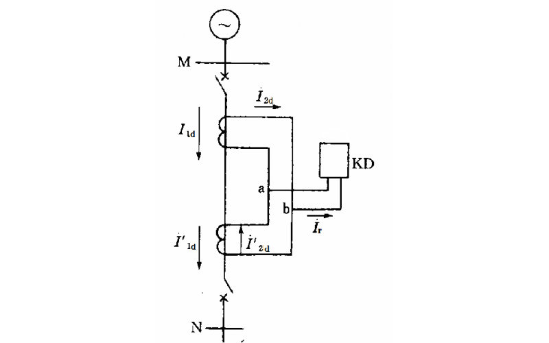
CT更换过程中的二次危险点及控制措施
KWZK-LB800系列漏电保护器小知识介绍
2023-04-21 天行官方网站_天行TIANXING(中国)
高温天,配电房巡检运行注意事项指南分享
电力变压器的保护配置知识分享
2023-04-20 天行官方网站_天行TIANXING(中国)