如何延长陶瓷阀门的使用寿命?
2022-08-23 天行官方网站_天行TIANXING(中国)阀门
抗氢球面紧急切断耐磨陶瓷阀
继电保护也会犯浅显错误
2022-08-23 天行官方网站_天行TIANXING(中国)电气
KS-BJ系列热电偶补偿导线详解
2022-08-22 天行官方网站_天行TIANXING(中国)
WAX-C320系列差压流量计波动故障处理分享
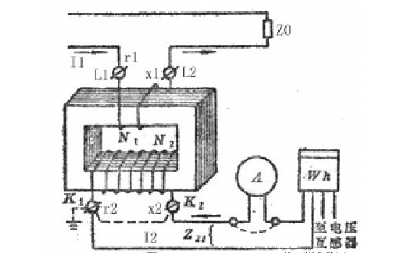
电压互感器与电流互感器的区别介绍
2022-08-22 天行官方网站_天行TIANXING(中国)电气
使用热电偶时,为什么要使用补偿导线
2022-08-20 天行官方网站_天行TIANXING(中国)
锅炉过热器减温水和再热器减温水对机组影响和作用